液压系统作为工业生产、工程机械等领域的核心动力传输单元,接头的密封可靠性与适配灵活性直接影响整体运行效率。专为软管连接设计的液压软管接头,凭借标准化接口与精准密封结构,成为连接液压软管与各类液压元件的关键枢纽,其一端稳固衔接软管(尾端),另一端通过通用接口标准与其他元件兼容对接(终端),双重保障连接的长久密封与无泄漏性能,为液压系统稳定运行筑牢基础。

针对工业场景中多样化的密封要求,液压软管接头推出五大核心类型,覆盖从常规密封到高压工况的全场景需求:

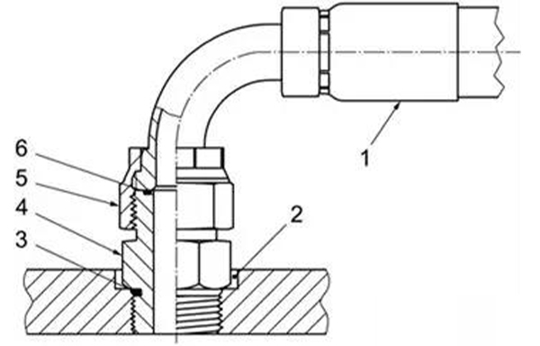
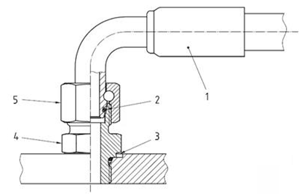
1.软管接头 2.油口 3.O型圈4.接头5.螺母6.O型圈
为确保液压系统的安全性与适配性,选型时需重点考量五大核心因素:接头最大工作压力(需不低于软管最高工作压力)、工作温度适配范围、接口尺寸兼容性、软管内外径匹配度、安装便捷性及经济性。合理选型可有效避免泄漏、接头损坏等问题,延长液压系统使用寿命,降低维护成本。
作为液压系统的 “连接核心”,液压软管接头以多元密封结构、通用接口标准及精准适配设计,广泛应用于工业制造、工程机械、农业机械、液压设备等领域。其可靠的密封性能与灵活的适配能力,为各类液压系统提供稳定、高效的动力传输保障,成为工业生产中不可或缺的关键部件。
联系人: 成先生,问女士
电话: 190 5383 0815,190 5383 6750
微信:Cheng513344686
地址: 研发中心:中国上海马吉路28号 生产中心:山东省泰安市高新技术开发区
We chat